Leak: In arrivo un nuovo drone DJI
DJI ha depositato un altro brevetto incentrato su un nuovo design pieghevole riguardante un nuovo drone di prossima uscita. Il nuovo design elimina il sistema pieghevole in stile Mavic, rimpiazzandolo con la chiusura in avanti dei bracci laterali. Potrebbe trattarsi del primo drone da corsa DJI o del nuovo Inspire 3.
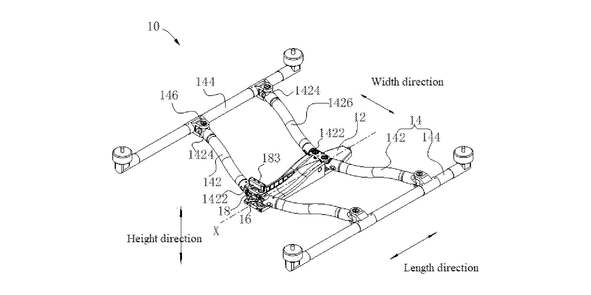
Nel corso dell'ultima settimana, presso l'Ufficio Brevetti cinese sono stati depositati alcuni brevetti che ci offrono un'anteprima dei prossimi progetti di DJI. In questo caso, si parla di un nuovo drone pieghevole e di un innovativo sistema di chiusura. L'ultimo brevetto depositato ha il titolo di "Deformable Frame of Aerial Vehicle and Aerial Vehicle".
Nel nuovo design i bracci si chiudono tirandoli in avanti, per poi posizionarsi sopra il corpo del drone una volta chiusi, donandogli una forma allungata e snella, più facile da trasportare.
Osservando il disegno contenuto nel brevetto, il design sembra richiamare quello della serie Inspire, con una simile disposizione dei bracci.
Un'altra opzione che potrebbe essere presa in considerazione, dato che non ne conosciamo le dimensioni reali, è che potrebbe trattarsi di un drone da corsa DJI di prossima uscita, a prima vista potrebbe sembrare l'opzione meno probabile, in quanto il sopracitato sistema di chiusura aggiunge del peso aggiuntivo, ma potrebbe comunque trattarsi di un drone da corsa per riprese "action".
